Anma Akımı 80A Doğrudan
MID Sertifikalı
Yüksek Doğruluk Sınıfı C
35mm DIN Ray Montajlı
Darbe Çıkışı
4 Modül 72mm Genişlik
IoT Enerji Yönetimi, Fabrika, Okul için
AC Tek Fazlı Ölçüm
80A Doğrudan Giriş Akımı
CE-MID Sertifikalı
Yüksek Doğruluk Sınıfı 1
DIN Ray Kurulumu
RS485 İletişimi
Uygulama: IoT Enerji Yönetimi, Fabrika, Okul
+86-18702106858 / +86-21-69156352
ADL200 tek fazlı elektrik sayacı, alçak gerilim sistemleri için tasarlanmış kompakt ve yüksek hassasiyetli bir enerji sayacıdır. Tek fazlı aktif enerjiyi ve voltaj, akım, güç ve güç faktörü gibi çeşitli elektriksel parametreleri ölçer. 8 bitlik LCD ekranıyla aktif enerjinin hem pozitif hem de negatif kWh cinsinden net okunmasını sağlar. Sayaç, MODBUS-RTU protokolüne sahip bir RS485 iletişim arayüzüne sahiptir ve bu da onu IoT platformlarına ve enerji yönetim sistemlerine entegrasyon için ideal kılar. IEC62053-21 ve IEC62053-22 standartlarına göre sertifikalı olup güvenilir performans ve doğruluk sağlar. DIN rayı kurulumu ve küçük form faktörü, çeşitli uygulamalarda dağıtımı kolaylaştırır.
| Teknik Parametreler | Değer | |
| Giriş Gerilimi | Referans Gerilimi | alternatif akım 220V |
| Referans Frekansı | 50 Hz | |
| Güç Tüketimi | <10VA | |
| Giriş Akımı | Temel Akım | 10A |
| Maksimum Akım | 80A | |
| Başlangıç Akımı | 4‰ lb | |
| Tüketim | <4VA | |
| Ölçüm Performansı | Ölçümün Doğruluğu | 1 Sınıf |
| Ölçüm Aralığı | 000000,00-999999,99 kWh | |
| Saat Doğruluğu | Hata ≤0,5s/gün | |
| Çıkış | Darbe Genişliği | 80±20ms |
| Darbe Sabiti | 1000 imp/kWh | |
| Otomatik tekrar kapanan fren | Arayüz | RS485 (A B-) |
| Bağlantı Modu | Kalkan | |
| ded Bükümlü Çift İletkenler | ||
| Protokol | Modbus-RTU | |
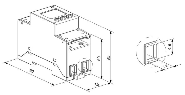
| U*G*Y | 90*36*65mm | |
| Güçlü Akım Terminali Torku | <1.8Nm | |
Enerji Verimliliği Yönetimi
IoT EMS Çözümü
2003 yılında kurulan Acrel Co., Ltd. 【Stok Kodu: 300286.SZ】 enerji yönetimi çözümleri ve elektrik güvenliği konusunda uzmanlaşmış yüksek teknolojiye sahip bir kuruluştur. Merkezi Şangay'da bulunan Acrel, mikro şebeke enerji verimliliği ve elektrik güvenliği için yenilikçi ve sürdürülebilir çözümler sunmaktadır. 600'den fazla patent ve yazılım telif hakkıyla Acrel, dünya çapında 28.000'den fazla sistem çözümünü devreye alarak kapsamlı bir "bulut uç noktası" enerji internet mimarisi oluşturdu.
Acrel Co., Ltd. is China Wholesale AC Tek Fazlı Doğrudan Erişim DIN Ray RS485 Enerji Sayacı Manufacturers and AC Tek Fazlı Doğrudan Erişim DIN Ray RS485 Enerji Sayacı Factory. Acrel's integrated product ecosystem spans from cloud platform software to end-user components, covering sectors such as power, renewable energy, data centers, smart buildings, transportation, and smart cities. These solutions enable intelligent, real-time energy management, enhancing energy security and reducing operational costs. We offer AC Tek Fazlı Doğrudan Erişim DIN Ray RS485 Enerji Sayacı for sale.
Şirketin üretim tesisi Jiangsu Acrel Electric Manufacturing Co., Ltd., gelişmiş test merkezleri ve kurşunsuz üretim süreçlerine olan bağlılığıyla katı kalite standartlarına ve çevre kurallarına uymaktadır. Acrel'in 500'ü aşkın mühendisten oluşan ekibi, en ileri enerji verimliliği sistemleri ve akıllı enerji çözümleri sunmaktadır.
Güçlü yurt içi varlığıyla Acrel, küresel bir satış ve teknik ekip ağı ve dünya çapında kusursuz hizmet deneyimleri sağlayan bir e-ticaret platformu tarafından desteklenen uluslararası alanda aktif olarak genişliyor. Acrel, işletmelerin verimliliği artırmasına, tüketimi azaltmasına ve sürdürülebilirlik hedeflerine ulaşmasına yardımcı olmaktan gurur duyuyor.
Birlikte daha akıllı, daha yeşil bir gelecek inşa ediyoruz.
Yetkili Patentler
0+Hizmet Verilen Müşteri Sayısı
0+Toplam Çalışan Sayısı
0+Üretim Üssü
0m²Modern elektrik ortamı, üretim, iletim ve dağıtım için ağırlıklı olarak alternatif akımın (AC) kullanıldığı, birbirine bağlı güç sistemlerinden oluşan karmaşık bir dokudur. Ancak yenilenebilir enerjinin, enerji depolamanın, elektrikli araçların ve endüstriyel süreçlerin yükselişi, doğru akım (DC)...
Read MoreÇağdaş elektrik şebekesi, gücü üretim kaynaklarından son kullanıcılara olağanüstü bir güvenilirlikle ulaştırmak için tasarlanmış geniş ve birbirine bağlı bir ağ olan bir mühendislik şaheseridir. Bu sistemin kalbinde yüksek gerilim iletim hatları, yani çok büyük miktarda enerjiyi çok uzak mesafele...
Read MoreElektrik bakımı, enerji yönetimi ve sistem güvenilirliği alanında, güç kalitesi analizörü vazgeçilmezdir. Bu cihazlar, basit voltaj dalgalanmalarından karmaşık geçici olaylara kadar çok çeşitli elektriksel sorunların teşhisinde uzun süredir temel taşı olmuştur. Toptancılar ve alıcılar için...
Read More